Iklan 300x250

40 kawasaki fc420v parts diagram

kawasaki engines parts lookup. fc420v-as04-4-stroke-engine-fc420v parts diagram. air-filter/muffler. carburetor. control-equipment. cooling-equipment. cylinder/crankcase. electric-equipment. fuel-tank/fuel-valve. label. lubrication-equipment. piston/crankshaft. starter. valve/camshaft

Use our part lists, interactive diagrams, accessories and expert repair advice to make your repairs easy. 877-346-4814. Departments ... Repair Parts Home Lawn Equipment Parts Kawasaki Parts Kawasaki Small Engine Parts Kawasaki FC420V-FS15 4 Stroke Engine Parts.

Get Parts and Repair Help for FC420V Kawasaki Engine - - 4 Stroke Engine. View parts like Bolt-Flanged,6X10 and Filter-Oil

Kawasaki fc420v parts diagram

Kawasaki fc420v parts diagram

I'm talking melted, smoking bulging coil. This system uses an ignition module. Wiring diagram shows wire from "I" terminal on key switch to module with lead from module to coil. Checking the voltage meter I've got current at the "I" terminal when in the run position and consequently I've got voltage at the wire lead from the module to the coil.

Kawasaki, Factory Workshop Manual, 4 Stroke Air Cooled, Gasoline Engine, FC290V, FC400V, FC401V, FC420V, FC540V, OHV, Over Head Valve October 17, 2019 Parts Guy Manuals This is not the Paperback Edition, rather we are providing a NEW CD disc which has the complete Kawasaki Factory Workshop Manual in PDF format.

GenuineKawasakiParts.com is an authorized Kawasaki parts and accessories re-seller. While we keep thousands of parts on-hand at our warehouse, there are over thousands more that we offer. Due to the amount of inventory that we continously go through, we are able to get most parts that we do not have in-stock to arrive to our warehouse within 2 ...

Kawasaki fc420v parts diagram.

My FC420V is from the 1980s so maybe when I looked for this part I googled FC420V plus numbers and letters attached to the end of it and found an older model hence finding the parts diagram shows an igniter. Linked next is a random FC420V parts diagram I found which must be newer because I see the magneto but don't see an igniter in any of the ...

Welcome. The FC420V is a 423 cc (25.81 cu-in) single-cylinder air-cooled 4-stroke internal combustion small gasoline engine with vertical shaft. The engine was manufactured by Kawasaki Heavy Industries LTd., for general-purpose applications. A 89.0 mm (3.5 in) cylinder bore and 68.0 mm (2.68 in) piston stroke give the motor a total of 423 cc of ...

4 out of 5 stars. (9) 9 product ratings - Genuine OEM Kawasaki Engine Motor Starter Recoil 49088-2473-YK For FC420V AS20. $107.49. Was: $180.00. 218 sold.

Find all the parts you need for your Kawasaki Small Engine FC420V/BS10 at RepairClinic.com. We have manuals, guides and of course parts for common FC420V/BS10 problems.

Find technical Kawasaki engine downloads such as specification sheets, troubleshooting guides, service data, owners manuals and brochures here.

About Kawasaki Parts House We're the source for any Kawasaki Parts you may need - Covers, Accessories, or any Replacement Parts! Kawasaki Parts House is owned and operated by Babbitt's Online.This site is dedicated to selling OEM Kawasaki ATV parts, motorcycle parts, JetSki parts and UTV parts.

SD-FC420V. PDF 84KB. Preview Share. Download. Owners Manual. OM-99920-2070-02-FC290-400-420-540V. PDF 313KB. Preview Share. Download.

Kawasaki Fc420v Owners Manual.pdf Kawasaki FC420V (14.0 HP) small vertical engine: review and specs The Kawasaki FC420V is a 423 cc (25.81 cu-in) single-cylinder air-cooled 4-stroke internal combustion small gasoline engine with vertical shaft manufactured by Kawasaki Heavy Industries LTd., for general-purpose applications.

Use our part lists, interactive diagrams, accessories and expert repair advice to make your repairs easy. Please note shipping times may be longer than expected due to carrier delays. 877-346-4814 ... Repair Parts Home Lawn Equipment Parts Kawasaki Parts Kawasaki Small Engine Parts Kawasaki FC420V-FS17 4 Stroke Engine Parts.

Kawasaki repair parts and parts diagrams for Kawasaki FC420V-ES15 - Kawasaki Engine Order Status Customer Support 512-288-4355 My Account Login to your PartsTree.com to view your saved list of equipment.

Kawasaki Engines to Showcase Engines, Parts and Accessories at GIE+EXPO 2021. Kawasaki Engines Division Names Mexico Distributors. Kawasaki Adds Two Ethanol-Free KTECH™ Genuine Parts. Kawasaki Engines Division Names Todd Sytsma Manager, OEM Department. @kawpower.

Kawasaki FC420V Exploded View parts lookup by model. Complete exploded views of all the major manufacturers. It is EASY and FREE. ... Kawasaki Fc420v Parts Diagrams FC420V-AS03 4 Stroke Engine FC420V. FC420V-AS04 4 Stroke Engine FC420V. FC420V-AS05 4 Stroke Engine FC420V.

Kawasaki 4 Stroke Engine | FC420V | eReplacementParts.com

Kawasaki 4 stroke engine | fc420v | ereplacementparts.com

Buy Genuine OEM Kawasaki Engines parts for your Kawasaki Engines FC420V-AS16 4 Stroke Engine FC420V and ship today! Huge in-stock inventory of OEM Kawasaki Engines parts. Kawasaki Engines Parts Diagrams, Kawasaki Engines FC420V-AS16 4 Stroke Engine FC420V

Kawasaki FC420V-FS12 - Kawasaki Engine LUBRICATION-EQUIPMENT ...

Kawasaki fc420v-fs12 - kawasaki engine lubrication-equipment ...

Mckin 11013-2141 Air Filter + 49065-2071 Oil Filter Tune Up Kit for Kawasaki FC400V FC401V FC420V 14HP 4-Cycle Engine JD 240 LX172 LX176 GT242 Lawn Mower. 4.5 out of 5 stars. 121.

ELECTRIC EQUIPMENT for Kawasaki FC MOTORS FC420V # KAWASAKI ...

Electric equipment for kawasaki fc motors fc420v # kawasaki ...

Most Popular Parts These are the most commonly purchased repair parts for FC420V. O Ring-16mm $3.08 Plug-Spark $4.92 Filter-Oil $12.95 Bolt-Flanged-6X12 $3.08 Oil Pressure Cut Off Switch $18.35 Float $25.40 Gasket-Crankcase Cover $21.18 Pump-Fuel $58.52

Kawasaki Engines Parts Diagrams, Kawasaki Engines FC420V-JS09 ...

Kawasaki engines parts diagrams, kawasaki engines fc420v-js09 ...

Toro Timecutter Mx5025 50 In Fab 23 Hp Kawasaki V Twin Gas Zero Turn Riding Mower With Smart Speed. 14 Hp Briggs And Stratton Carburetor Diagram Wiring Wiring. 2006 Kawasaki Kx450f Kx450d Parts Best Oem Parts Diagram. Details About Kawasaki 24 Hp Engine Vertical 39 7 Max Torque Fr730v Bs16s. 23 Hp Kohler Wiring Diagram Wiring Diagram.

Kawasaki 4 Stroke Engine FC420V OEM Parts Diagram for ...

Kawasaki 4 stroke engine fc420v oem parts diagram for ...

The Kawasaki FC420V could be equipped with electric starter and 12V (3A, 5A, 9A or 13A) charging coil. A 89.0 mm (3.5 in) cylinder bore and 68.0 mm (2.68 in) piston stroke give the motor a total of 423 cc of displacement. Compression ratio rating is 8.4:1.

Kawasaki FC420V-CS06 - Kawasaki Engine STARTER Parts Lookup ...

Kawasaki fc420v-cs06 - kawasaki engine starter parts lookup ...

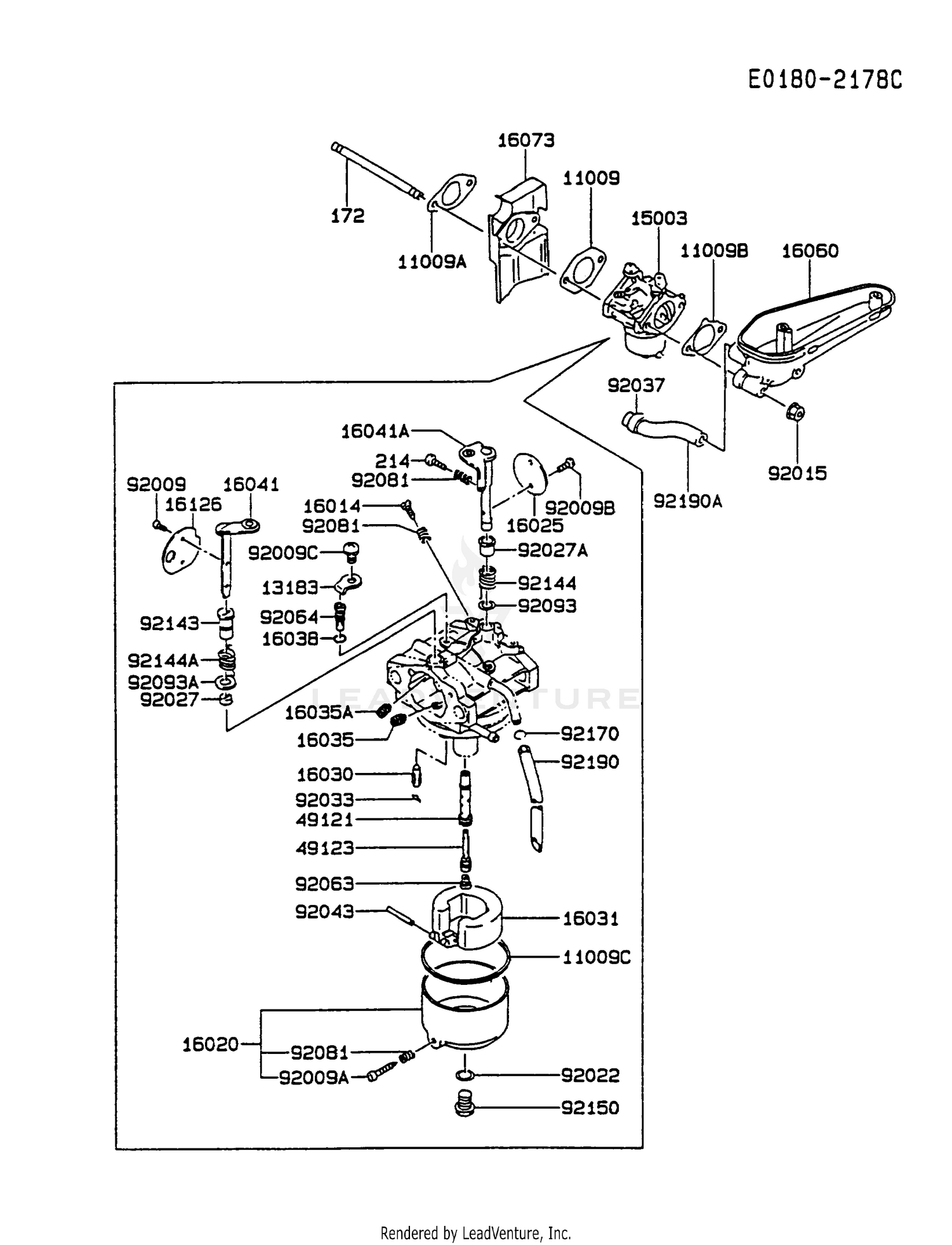
Buy OEM Parts for Kawasaki 4 Stroke Engine FC420V Carburetor Diagram

Kawasaki FC420V-CS06 4 Stroke Engine FC420V Parts Diagram for ...

Kawasaki fc420v-cs06 4 stroke engine fc420v parts diagram for ...

Autu Parts 15003-2153 Carburetor for Kawasaki FC420V Engine Carburetor Assembly 15001-2972 15003-2154. 4.5 out of 5 stars. 11. $38.90. $38. . 90. Get it as soon as Mon, Sep 20. FREE Shipping by Amazon.

Kawasaki Engines FC420V-BS14 4 Stroke Engine FC420V ELECTRIC ...

Kawasaki engines fc420v-bs14 4 stroke engine fc420v electric ...

Kawasaki FC420V-BS14 4 Stroke Engine FC420V Exploded View parts lookup by model. Complete exploded views of all the major manufacturers. It is EASY and FREE

Kawasaki FC420V-DS09 - Kawasaki Engine CYLINDER/CRANKCASE ...

Kawasaki fc420v-ds09 - kawasaki engine cylinder/crankcase ...

Due to the employee strike at John Deere, we are not receiving estimated in stock dates for all parts and equipment. Kawasaki Engines PARTS LOOKUP Kawasaki Engines Parts Diagrams, Kawasaki Engines FC420V-ES18 4 Stroke Engine FC420V

Kawasaki FC420V-GS09 4 Stroke Engine FC420V Parts Diagram for ...

Kawasaki fc420v-gs09 4 stroke engine fc420v parts diagram for ...

Kawasaki 4 Stroke Engine | FC420V | eReplacementParts.com

Kawasaki 4 stroke engine | fc420v | ereplacementparts.com

Kawasaki FC420V-AS07 - Kawasaki Engine LUBRICATION-EQUIPMENT ...

Kawasaki fc420v-as07 - kawasaki engine lubrication-equipment ...

Kawasaki FC420V-AS13 4 Stroke Engine FC420V Parts Diagram for ...

Kawasaki fc420v-as13 4 stroke engine fc420v parts diagram for ...

Kawasaki 4 Stroke Engine | FC420V | eReplacementParts.com

Kawasaki 4 stroke engine | fc420v | ereplacementparts.com

Download Parts List - Scag Power Equipment

Download parts list - scag power equipment

Kawasaki FC420V-CS09 4 Stroke Engine FC420V Parts Diagram for ...

Kawasaki fc420v-cs09 4 stroke engine fc420v parts diagram for ...

Kawasaki FC420V-BS14 4 Stroke Engine FC420V Parts Diagrams

Kawasaki fc420v-bs14 4 stroke engine fc420v parts diagrams

CYLINDER HEAD/CRANKCASE for Kawasaki FC MOTORS FC420V ...

Cylinder head/crankcase for kawasaki fc motors fc420v ...

Kawasaki 4 Stroke Engine | FC420V | eReplacementParts.com

Kawasaki 4 stroke engine | fc420v | ereplacementparts.com

Kawasaki FC420V-DS09 4 Stroke Engine FC420V Parts Diagrams

Kawasaki fc420v-ds09 4 stroke engine fc420v parts diagrams

FC420V ES10 FC MOTORS FC420V FC Petits Moteurs Kawasaki ...

Fc420v es10 fc motors fc420v fc petits moteurs kawasaki ...

Kawasaki Engines FC420V-BS14 4 Stroke Engine FC420V CARBURETOR

Kawasaki engines fc420v-bs14 4 stroke engine fc420v carburetor

Kawasaki FC420V-FS16 4 Stroke Engine FC420V Parts Diagram for ...

Kawasaki fc420v-fs16 4 stroke engine fc420v parts diagram for ...

Kawasaki FC420V-BS05 4 Stroke Engine FC420V Parts Diagram for ...

Kawasaki fc420v-bs05 4 stroke engine fc420v parts diagram for ...

Kawasaki FC420V-BS13 4 Stroke Engine FC420V Parts Diagram for ...

Kawasaki fc420v-bs13 4 stroke engine fc420v parts diagram for ...

Kawasaki 4 Stroke Engine | FC420V | eReplacementParts.com

Kawasaki 4 stroke engine | fc420v | ereplacementparts.com

Kawasaki FC420V-FS15 - Kawasaki Engine PISTON/CRANKSHAFT ...

Kawasaki fc420v-fs15 - kawasaki engine piston/crankshaft ...

Kawasaki FC420V-BS13 4 Stroke Engine FC420V Parts Diagram for ...

Kawasaki fc420v-bs13 4 stroke engine fc420v parts diagram for ...

Kawasaki FC420V-HS17 - Kawasaki Engine COOLING-EQUIPMENT ...

Kawasaki fc420v-hs17 - kawasaki engine cooling-equipment ...

Kawasaki 4 Stroke Engine FC420V OEM Parts Diagram for ...

Kawasaki 4 stroke engine fc420v oem parts diagram for ...

Kawasaki 4 Stroke Engine FC420V OEM Parts Diagram for Piston ...

Kawasaki 4 stroke engine fc420v oem parts diagram for piston ...

CARBURETOR for Kawasaki FC MOTORS FC420V # KAWASAKI - Online ...

Carburetor for kawasaki fc motors fc420v # kawasaki - online ...

Kawasaki FC420V-HS01 4 Stroke Engine FC420V Parts Diagram for ...

Kawasaki fc420v-hs01 4 stroke engine fc420v parts diagram for ...

Kawasaki FC420V-HS09 - Kawasaki Engine CARBURETOR Parts ...

Kawasaki fc420v-hs09 - kawasaki engine carburetor parts ...

Kawasaki 4 Stroke Engine FC420V OEM Parts Diagram for VALVE + ...

Kawasaki 4 stroke engine fc420v oem parts diagram for valve + ...

Kawasaki FC420V (14.0 HP) small vertical engine: review and ...

Kawasaki fc420v (14.0 hp) small vertical engine: review and ...

Kawasaki FC420V-GS14 4 Stroke Engine FC420V Parts Diagram for ...

Kawasaki fc420v-gs14 4 stroke engine fc420v parts diagram for ...

Kawasaki 4 Stroke Engine FC420V OEM Parts Diagram for ...

Kawasaki 4 stroke engine fc420v oem parts diagram for ...

Kawasaki Engines Parts Diagrams, Kawasaki Engines FC420V-FS16 ...

Kawasaki engines parts diagrams, kawasaki engines fc420v-fs16 ...

0 Response to "40 kawasaki fc420v parts diagram"

Post a Comment

Iklan Atas Artikel

Iklan Tengah Artikel 1

Iklan Tengah Artikel 2

Iklan Bawah Artikel