Iklan 300x250

40 kenmore refrigerator water line diagram

Description: How To Fix Warm Side-By-Side Kenmore Elite Refrigerator in Kenmore Elite Refrigerator Parts Diagram, image size 535 X 601 px, and to view image details please click the image.. Honestly, we also have been realized that kenmore elite refrigerator parts diagram is being one of the most popular topic right now. So we tried to find some good kenmore elite refrigerator parts diagram ...

Kenmore 9690 200 gal. Water Filter. Kenmore Elite 9918 Elite Replacement CleanFlow Refrigerator Air Filter. Kenmore 9999 Replacement Water Filter. Kenmore Elite 9490 /ADQ73613402 200 gal. Water Filter. Kenmore 09890 Refrigerator Water Filter 500-Gallon Capacity. Kenmore 08560 White Icemaker Kit. Kenmore 9916 Replacement Water Filter for Counter ...

The parts diagram for your dispenser is shown in the image below. Follow these steps to replace the water dispenser tube: Unplug the refrigerator to disconnect electrical power. Shut off the water supply to the refrigerator. Remove the drip tray (Key 9) from the dispenser housing.

Kenmore refrigerator water line diagram

Kenmore refrigerator water line diagram

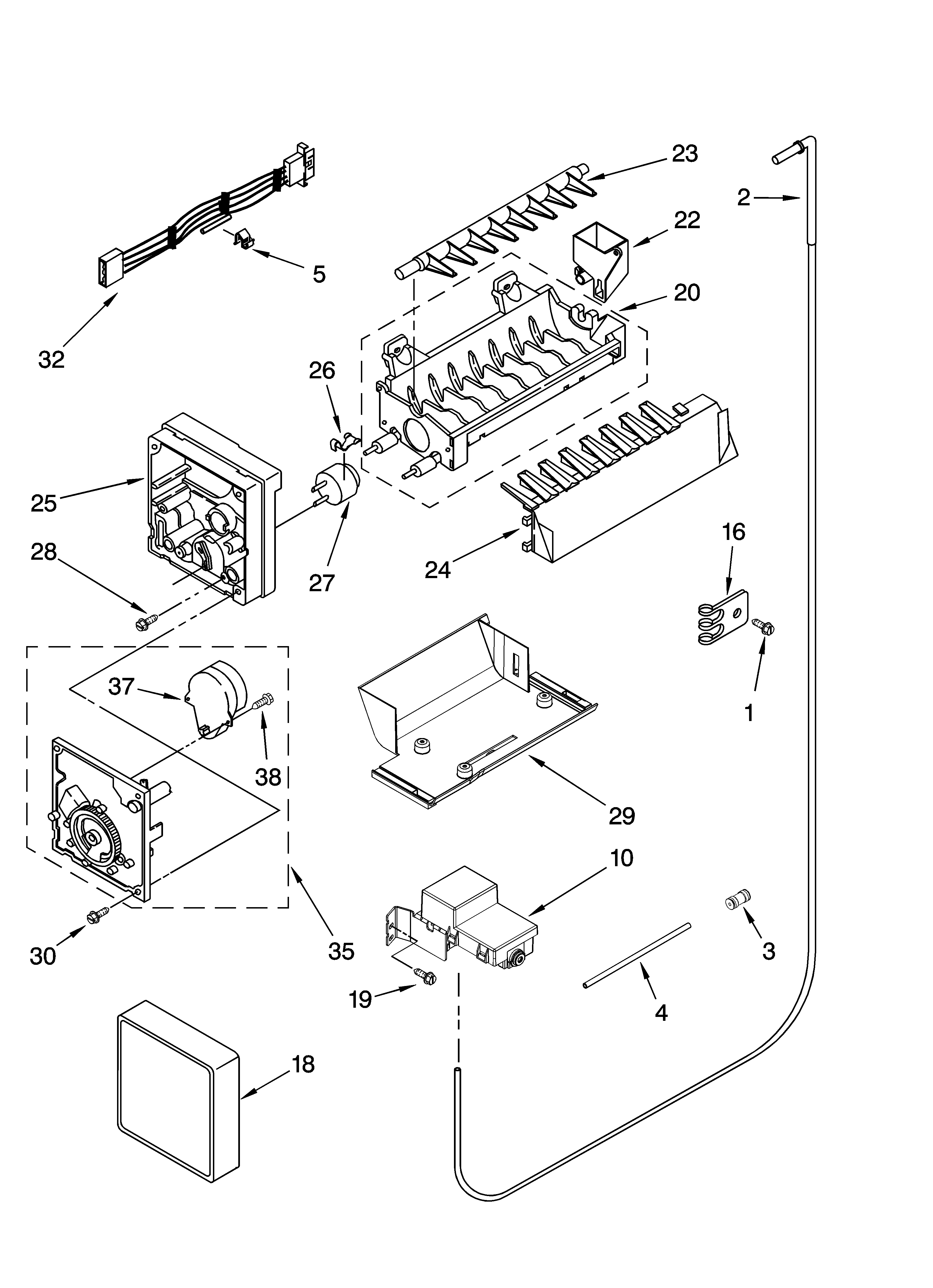
Kenmore Refrigerator 795.73133410 (79573133410, 795 73133410) Repair Parts. The best way to find parts for Kenmore / Sears refrigerator model 795.73133410 (79573133410, 795 73133410) is by clicking one of the diagrams below. You can also browse the most common parts for Kenmore / Sears refrigerator model 795.73133410.

Water shutoff valve connecting refrigerator to water line may be clogged. Call a plumber to clear the valve. The gaskets are dirty or sticky. Clean gaskets and the surfaces that they touch. Rub a thin coat of appliance polish or kitchen wax on the gaskets after cleaning. The door is reopened within a short time after having been opened.

Common solutions for: My Kenmore refrigerator water dispenser's Not Working . 01 - Water Tube in Door is Frozen. ... If the freezer is too cold, the water line may freeze. 02 - Water Inlet Valve. The water inlet valve opens to supply water to the dispenser. If the water inlet valve is defective, or if the water pressure is too low, the water ...

Kenmore refrigerator water line diagram.

I have a Kenmore refrigerator (model 53552200) that has incoming tap water connected to a valve near the bottom on the back of the fridge. In addition, there is an exposed 1/4" plastic water line running on the back of the fridge, from the top, down to the bottom of the unit.

The most common causes for a leaky Kenmore refrigerator involve clogged or broken elements in the waterline. Anything from clogged water lines, a cracked drain pan, or a malfunctioning water filter can precipitate a refrigerator leak. Some careful troubleshooting will help you repair the system and stop the leaks.

This video provides step-by-step instructions for replacing the ice maker water line on Whirlpool refrigerators. The most common reason for replacing the wat...

Ge Refrigerator Water Line Diagram. replacing water tank and lines on ge side by side refrigerator handyguy paul fixes his water tank in a ge refrigerator purchased in 2005 the water tank developed a slow leak which was running down the back ge wr17x1948 water line appliancepartspros water line wr17x1948 ap made by ge part diagram more product i replace the water inlet valve in my refrigerator ...

Frigidaire Refrigerator Water Line Diagram. frigidaire refrigerator dispenser water inlet valve this video provides step by step repair instructions for replacing the water inlet valve on a frigidaire refrigerator the most mon reasons how do i replace the internal tubing in a frigidaire i have a frigidaire refrigerator the internal tubing in a frigidaire refrigerator you with a diagram of how ...

Water Filter (SmartWater) for Kenmore 795.71039.010 Refrigerator. Genuine Product, GE manufactured the original product for your Kenmore 795.71039.010. As per the manufacturer, this is an updated water filter. If you have never installed the updated filter or your old filter was made by Culligan, you may need the adapter to install the filter ...

Free kitchen appliance user manuals, instructions, and product support information. Find owners guides and pdf support documentation for blenders, coffee makers, juicers and more.

All you need to change a water filter in a Kenmore Refrigerator is a replacement that matches the model of your fridge. If the water filter is located on the interior, locate it in either one of the top corners of the fridge. Simply twist it counterclockwise to pull it out.

Ever since we moved, the water dispenser and ice maker on our Kenmore side-by-side are not working. You can hear the motor kick on when the paddle is pressed, but nothing comes out. I ensured the water line is properly hooked up; I also removed the lines under the kick plate on the freezer side and water was running out of them.

How to Clear a Sears Kenmore Refrigerator Drain Line. When the ice begins to build up on the floor of your Sears Kenmore refrigerator freezer, chances are the refrigerator drain line has frozen ...

White Water Filter Outlet Tube. This 5/16" tube goes from the outlet of the water filter to the water valve. Kenmore Refrigerator Water Line. Genuine OEM Part # 5210JA3005E | RC Item # 1268071. Watch Video. $15.14. ADD TO CART. 1/4 Inch O.D. plastic tube. 92" long per factory. Kenmore Refrigerator Water Line.

Jul 5, 2021. #16. fjfagergren said: A Kenmore repairman gave me the understanding that the wiring in the door, from the hinge area to the dispenser, is "foamed in" as the door is constructed and cannot be accessed or repaired. The only option would be to replace the entire door, if that were even possible.

Kenmore refrigerator - how remove ice/water dispenser front panel

Kenmore refrigerator - how remove ice/water dispenser front panel

Kenmore 25352649303 side-by-side refrigerator parts - manufacturer-approved parts for a proper fit every time! We also have installation guides, diagrams and manuals to help you along the way!

Kenmore 9084 9084 Refrigerator Water Filter, white | Walmart ...

Kenmore 9084 9084 refrigerator water filter, white | walmart ...

Get shopping advice from experts, friends and the community! Kenmore side by side model number 363.58895896 where can I see a diagram of the water lines going to the water dispenser and ice maker on a model 363.58895896 refrigerator?

Kenmore Elite 79572063112 bottom-mount refrigerator parts ...

Kenmore elite 79572063112 bottom-mount refrigerator parts ...

Water Tube Kit. $ 31.44 In Stock. Add to cart. Fix Number: FIX11730901. Manufacturer #: W10823511. Manufactured by: Whirlpool. Product Description. This is the replacement water tube kit for your refrigerator. This tubing is made of plastic, is 1/4 inch in diameter, and comes with 2 inserts.

FIXED - 795.71013.010 Kenmore Refrigerator Broken Water Line ...

Fixed - 795.71013.010 kenmore refrigerator broken water line ...

Water Line (5/16 in) for Kenmore 795.77543600 Refrigerator. Genuine Product, LG manufactured the original product for your Kenmore 795.77543600.

How To Install A Water Line To Your Refrigerator - Easy Step ...

How to install a water line to your refrigerator - easy step ...

PartSelect Number PS7321353. Manufacturer Part Number 242253002. The water inlet valve supplies water to the refrigerator ice maker and water dispenser. This part works with the following brands: Frigidaire, White Westinghouse, Kelvinator, Gibson, Kenmore, Sears, Tappan, & Electrolux.

Kenmore 596.76524500 Water Filter Bypass Cap - Genuine OEM

Kenmore 596.76524500 water filter bypass cap - genuine oem

As per the manufacturer, this part starts out as 1/4" tubing but ends up at 5/16". Works with the following brands: Kenmore, Whirlpool, KitchenAid, Maytag. Works with the following products: Refrigerator. Fixes the following symptoms: Leaking, Not dispensing water. Part# 8201597 replaces these: AP3607291, 1018190, 8201597, 2186492, 2188744 ...

How does my refrigerator water line connect to the valve ...

How does my refrigerator water line connect to the valve ...

Manufacturer Part Number W10823511. This is the replacement water tube kit for your refrigerator. This tubing is made of plastic, is 1/4 inch in diameter, and comes with 2 inserts. This tube may be longer than the original tube, and may need to be cut. This water tube transports water to the ice and water dispensers.

How To: Whirlpool/KitchenAid/Maytag Water Inlet Valve W10408179

How to: whirlpool/kitchenaid/maytag water inlet valve w10408179

The best way to find parts for Kenmore / Sears refrigerator model 795.74023411 (79574023411, 795 74023411) is by clicking one of the diagrams below. You can also browse the most common parts for Kenmore / Sears refrigerator model 795.74023411.

Can I use the exposed water line on a Kenmore refrigerator to ...

Can i use the exposed water line on a kenmore refrigerator to ...

Kenmore 106 refrigerator parts diagram this is images about kenmore 106 refrigerator parts diagram posted by benson fannie in kenmore category. 240530903 ah1526037 ea1526037 ps1526037. Kenmore cold spot refrigerator model 106 ice maker parts marketplace 500 only 133 in store. Filter cartridges if equipped with the filter system.

Ge Fridge Water Line Heater

Ge fridge water line heater

The Kenmore 25 cu. ft. side-by-side fridge has plenty of room for snacks, fresh foods, leftovers and meal-time staples. Whether you thrive on fresh fruits and veggies or live off of a week's worth of leftovers and frozen pizzas, this fridge has the flexible storage options and freshness technology to keep foods chilled and tasty.

Refrigerator Water Dispenser Not Working - How To Fix

Refrigerator water dispenser not working - how to fix

Description: Kenmore Elite Refrigerator Parts | Model 10655606400 | Sears intended for Kenmore Side By Side Refrigerator Parts Diagram, image size 1000 X 1381 px, and to view image details please click the image.. Honestly, we have been remarked that kenmore side by side refrigerator parts diagram is being just about the most popular field right now. . So that we attempted to uncover some ...

FIXED - ARS266ZBS Amana Refrigerator water line routing ...

Fixed - ars266zbs amana refrigerator water line routing ...

How To Install A Water Line To Your Refrigerator - Easy Step ...

How to install a water line to your refrigerator - easy step ...

Dual Water Valve WP67005154 | Official Whirlpool Part | Fast ...

Dual water valve wp67005154 | official whirlpool part | fast ...

Can I use the exposed water line on a Kenmore refrigerator to ...

Can i use the exposed water line on a kenmore refrigerator to ...

Kenmore, Kulkas, Frigidaire gambar png

Kenmore, kulkas, frigidaire gambar png

Kenmore Refrigerator 106 User Guide | ManualsOnline.com

Kenmore refrigerator 106 user guide | manualsonline.com

SOLVED: I have a Kenmore Coldspot - Fixya

Solved: i have a kenmore coldspot - fixya

How To: LG/Kenmore Water Line 5210JA3004U

How to: lg/kenmore water line 5210ja3004u

CASE PARTS Diagram & Parts List for Model 79579293902 Kenmore ...

Case parts diagram & parts list for model 79579293902 kenmore ...

Maytag MFC2061HEB Parts | Reliable Parts

Maytag mfc2061heb parts | reliable parts

Kenmore Elite 795.78552 78553 78554 78556 785529 .800 ...

Kenmore elite 795.78552 78553 78554 78556 785529 .800 ...

Whirlpool Refrigerator Water Dispenser Inlet Valve #W10408179

Whirlpool refrigerator water dispenser inlet valve #w10408179

Kenmore 10659422801 side-by-side refrigerator parts | Sears ...

Kenmore 10659422801 side-by-side refrigerator parts | sears ...

Why is the water coming from my fridge warm? | Samsung ...

Why is the water coming from my fridge warm? | samsung ...

Whirlpool Refrigerator Water Line Diagram - Wiring Site Resource

Whirlpool refrigerator water line diagram - wiring site resource

Kenmore Elite 10658976701 Side-By-Side Refrigerator ...

Kenmore elite 10658976701 side-by-side refrigerator ...

SEA BREEZE APPLIANCE PARTS AND TECHNICAL SERVICES: ARSE66MBW ...

Sea breeze appliance parts and technical services: arse66mbw ...

SOLVED: I need a wiring schematic for kenmore refrigerator ...

Solved: i need a wiring schematic for kenmore refrigerator ...

Kenmore Refrigerator Water Filtration Cartridge No. 9014 for ...

Kenmore refrigerator water filtration cartridge no. 9014 for ...

Kenmore Elite 10656703500 Parts Diagram - Home Construction ...

Kenmore elite 10656703500 parts diagram - home construction ...

Kenmore 106.58722801 Water Inlet Valve Kit Genuine OEM

Kenmore 106.58722801 water inlet valve kit genuine oem

WATER FILTER ASSY Diagram & Parts List for Model 59650399000 ...

Water filter assy diagram & parts list for model 59650399000 ...

I Have a kenmore model #25355692407 side by side refrigerator ...

I have a kenmore model #25355692407 side by side refrigerator ...

How to Repair an Ice Maker — Ice Maker Repair & Troubleshooting

How to repair an ice maker — ice maker repair & troubleshooting

Kenmore Elite 10656703500 side-by-side refrigerator parts ...

Kenmore elite 10656703500 side-by-side refrigerator parts ...

Kenmore Elite 79573167610 refrigerator parts | Sears PartsDirect

Kenmore elite 79573167610 refrigerator parts | sears partsdirect

TDRFORCE Bottled Water Supply Dispenser Filter Purifier Pump for Kitchen  Living Room Office Coffee Brewer Ice-Maker Refrigerator High Efficiency  Mass ...

Tdrforce bottled water supply dispenser filter purifier pump for kitchen living room office coffee brewer ice-maker refrigerator high efficiency mass ...

Kenmore Refrigerator - Refrigerator Leaking Water - Repair ...

Kenmore refrigerator - refrigerator leaking water - repair ...

0 Response to "40 kenmore refrigerator water line diagram"

Post a Comment

Iklan Atas Artikel

Iklan Tengah Artikel 1

Iklan Tengah Artikel 2

Iklan Bawah Artikel