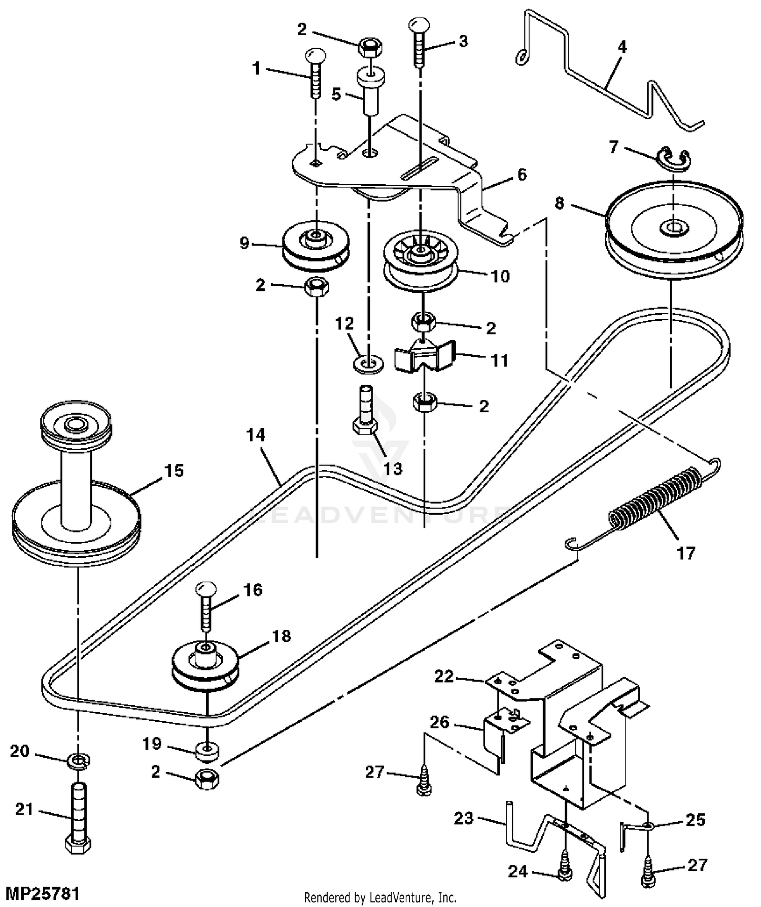
42 john deere 42 snowblower parts diagram
John Deere Auger Drive Gear Case Assembly - GXH48111. (1) $730.54. Usually available. Add to Cart. Quick View. John Deere Snowblower Parts Diagram 42 10 out of 10 based on 117 ratings. John Deere Snow Blower Parts at discount prices. Save money on genuine John Deere snow blower parts from the Green Farm Parts online store 24 hours a …
John deere 42 snowblower parts diagram. John deere lawn and garden tractor parts. John deere snow blower parts. John deere compact utility tractor parts. The 47 quick hitch snowblower fits john deere garden and compact tractors with unique quick hitch and drive shafts depending on model. Know your john deere part number search diagrams. John deere zero turn mower parts. Jacks is your place ...

John deere 42 snowblower parts diagram
Due to the employee strike at John Deere, we are not receiving estimated in stock dates for all parts and equipment. John Deere PARTS LOOKUP. SNOW-BLOWER-WALK-BEHIND- Parts Diagram. 320 SNOW THROWER; 322 SNOW THROWER; 520, 522 AND 524 SNOW BLOWERS; 524D AND 724D WALK-BEHIND SNOWBLOWERS; 526, 726, 732, 826, 832 and 1032 Walk-Behind Snow Blowers; 826D WALK-BEHIND SNOWBLOWER; 828D and 1032D Walk ... John Deere 14SB Parts - New and Aftermarket. Replacement parts for the John Deere 14SB may be needed at any point in its lifetime, either as replacement parts in a routine service, because a part has become defective or simply because of old age! Parts are normally needed for the engine, steering, transmission, mower deck, electrical, PTO and ... John Deere skid shoe set of two M147167 fits blades and snowblowers 445 F935 LX277 LT133 X300. 4.2 out of 5 stars. 30. $45.53. $45. . 53. Get it Thu, Aug 26 - Tue, Aug 31. FREE Shipping.
John deere 42 snowblower parts diagram. Browse our inventory of new and used JOHN DEERE Snow Blower Attachments For Sale near you at TractorHouse.com. Models include 44SB, 47SB, 47, 46, SB59, 44, 59, 686, 42, and 42SB. Page 2 of 4. Check the fuel filter, if the code reappears, then the John Deere dealer should repair the repair as soon as possible. Solenoids for John Deere. The fuel shutoff solenoid is responsible for shutting off the flow of fuel to the injection pump Hopefully, if you had a problem starting up your JD 5x20 series tractor, the threeFrom John Deere parts web site you should have a fuel pump (#9). The online john deere parts diagram and look up tool is an incredible source. John deere 47 snowblower parts are constructed with quality material and craftsmanship to ensure lasting durability. John deere 47 inch snow blower multi terrain 7002m 0 181500. Click here for 42-inch Snow Thrower Parts for 345 Products [10] Sort by: Use Default Sorting Price: Low to High Price: High to Low Name Newest Oldest Avg Review Review Count
John deere 42 snowblower parts diagram. Parts list john deere snowblower manual john deere 826 snowblower john deere 345 belt diagram 54 inch deck ideas for your inspiration. Snowblower attachment for john deere mowers 44 47 and 54 snowblower on the web. Here is a picture gallery about john deere snowblower parts diagram complete with the description of the image please find the image you need ... John Deere Parts Lookup -John Deere-42-IN Single Stage Snowthrower -PC2743 1999 Model M0SCSTX010001-015000 42-IN Single Stage Snowthrower -PC2743 2000 Model M0SCSTX015001-020000 42-IN Single Stage Snowthrower -PC2743 2001 Model M0SCSTX020001-025000 42-IN Single Stage Snowthrower -PC2743 200 John Deere 42" D100, D105, D110, D120, D125, D130 Deck Parts Diagram. Easy to use Parts Schematic for 42" D100 Series Lawn Tractors John deere 44 inch snowblower parts diagram page. John deere snow blower categories. Here is a picture gallery about john deere snowblower parts diagram complete with the description of the image please find the image you need. John deere 47 snowblower parts are constructed with quality material and craftsmanship to ensure lasting durability.
John Deere STX38 Parts - New and Aftermarket. Replacement parts for the John Deere STX38 may be needed at any point in its lifetime, either as replacement parts in a routine service, because a part has become defective or simply because of old age! Parts are normally needed for the engine, steering, transmission, mower deck, electrical, PTO ... 22.7.2015 · This quick parts reference guide will provide you with the most common John Deere 125 Lawn Tractor Parts 42 Mower Deck. These John Deere Lawn Tractor Parts may include: Tune Up Kit, Spark Plug, Mower Blades, Traction Drive Belt, Transmission Belt, Mower Drive Belt, Batery, and Air Filters. 30 Snowblower 42 Inch 2 Stage (GX0421X) 42 - ATTACHMENT, SNOWBLOWER, SNOW BLADE, AND MCS (SABRE LAWN TRACTORS) EPC John Deere online advisor sale parts diagram catalog 1.11.2021 · Posted: Fri Oct 29, 2021 10:50 am Post subject: Re: Snowblower drive axle: If the right axle is keyed to the wheel, it must have been intended to drive the wheel, otherwise it would have just been riding on bearings. You could go online to a parts supply, enter the make and model number, get a parts breakdown and see what's in there.
John Deere SNOW THROWER 49 SNOW THROWER -PC1080 high quality parts air freight to Senegal from $50.91, Guinea Republic from $50.81, Azerbaijan from $41.53
42-Inch Snow Thrower (240,245,260,265,285,320,325,335,345,355D,GX,LX,GT Tractors) 42 - SNOW THROWER EPC John Deere online advisor sale parts diagram catalog
Due to the employee strike at John Deere, we are not receiving estimated in stock dates for all parts and equipment. John Deere PARTS LOOKUP. 42-inch-Snow-Thrower Parts Diagram. 42-IN Snow Thrower (240, 245, 260, 265, 285 & 320 Tractors) -PC2201 1988 Model M03250X575001-595000 42-IN Snow Thrower (240, 245, 260, 265, 285 & 320 Tractors) -PC2201 1989 Model M03250X595001-750000 42-IN Snow Thrower ...
Parts lookup and repair parts diagrams for outdoor equipment like Toro mowers, Cub Cadet tractors, Husqvarna chainsaws, Echo trimmers, Briggs engines, etc. ... 1028E (1695808) - John Deere 28" Snow Thrower (2010) 928E (1695441) - John Deere 28" Snow Thrower (2008)
John Deere Parts Lookup -John Deere-42-IN Snow Thrower (Lever Lift) (240, 245, 260, 285, 320, 325, 335, 345, 355D, LX & GT Series) -PC2201 1999 Model M03252X200001-210000 42-IN Snow Thrower (Lever Lift) (240, 245, 260, 285, 320, 325, 335, 345, 355D, LX & GT Series) -PC 2000 Model M03252X210
To discover just about all pictures with John Deere Snowblower Parts Diagram photographs gallery you need to adhere to this kind of website link. The 42-inch 37-A snow blower attachment is a separate piece and has to be hooked up to the tractor's front end before it can be used. We have the John Deere Snow Blower Parts you need, with fast ...
If you need help finding John Deere Lawn Tractor Parts Search Using Weingartz Illustrated Diagrams to view an illustrated diagram or call us at 1-855-669-7278. Visit our YouTube channe l to view How To, Do It Yourself Repair, and Buyer Guide Videos.
35 Snowblower 42 Inch 2 Stage (GX0422X) 42 - ATTACHMENT, SNOWBLOWER, SNOW BLADE, AND MCS (SABRE LAWN TRACTORS) EPC John Deere online advisor sale parts diagram catalog
Description: John Deere 115 Lawn Tractor Parts with regard to John Deere Snowblower Parts Diagram, image size 600 X 600 px, and to view image details please click the image.. Honestly, we also have been remarked that john deere snowblower parts diagram is being just about the most popular subject at this moment. So we tried to get some terrific john deere snowblower parts diagram photo to suit ...
Read More Oct 20, 2021 · Used, John Deere X500 445 X700 345 355D GT235 GT24 Local sale! fits john deere: 7-bushel bagger please message us with your model and serial number if you have any questions, and we will be happy to help. 47 snowblower parts mytractorforum the friendliest tractor pertaining to john deere power flow bagger parts diagram image size 1182 x …
We are a full-service John Deere dealer with world-class after sale support in parts and service. We have a huge inventory of John Deere Parts in stock and place/receive orders for parts every day. Our inventory of power equipment parts is probably the widest in the industry, which allows us to offer quick response times and to give 'real' pictures of thousands of parts to make your …
John Deere 46 Snow Thrower Blower Gear Box DE18152 (NLA) $225.00. John Deere Snow Thrower 338 with Weights and Chains. Won't find a better deal. $730.00. $15.50 shipping. or Best Offer. Benefits charity. For John Deere 828D 28" cut.
Or maybe a diagram. Save john deere loader joystick to get email alerts ... and repair your truck. john deere 8r 410 410 hp 2019 - 4to6 john deere 840 37 hp 1976 - 1986 -- john deere 940 42 hp 1980 - 1986 -- john deere 1020 43 hp 1965 ... Please call us toll free at 877-530-4430 or chat with us for questions ordering used John Deere parts.
John Deere 141984 I9 42-Inch Snow Blower Owners Manual. I9. Snowthrower. 42-Inch. OPERATOR’S MANUAL. OMM141984 I9. North American Version. Litho in U.S.A. 1 of 36 ; 1; 2; 3 … 36; Next » Product Specification. Categories: John Deere Snow Blower Manuals, Snow Blower Manuals: Tags: John Deere 141984 I9, John Deere 42: Download File: Please Enter the Security Characters Shown Below. Letters ...
STARTER 12v, 10 tooth, Direct Drive Bosch type unit. 3.0KW, two (2) bolt mount. Uses Atlantic 1400-0203 solenoid and Atlantic 1400-0300 drive. Uses correct 13.5mm mounting hole diameter on DE.
John Deere skid shoe set of two M147167 fits blades and snowblowers 445 F935 LX277 LT133 X300. 4.2 out of 5 stars. 30. $45.53. $45. . 53. Get it Thu, Aug 26 - Tue, Aug 31. FREE Shipping.
John Deere 14SB Parts - New and Aftermarket. Replacement parts for the John Deere 14SB may be needed at any point in its lifetime, either as replacement parts in a routine service, because a part has become defective or simply because of old age! Parts are normally needed for the engine, steering, transmission, mower deck, electrical, PTO and ...
Due to the employee strike at John Deere, we are not receiving estimated in stock dates for all parts and equipment. John Deere PARTS LOOKUP. SNOW-BLOWER-WALK-BEHIND- Parts Diagram. 320 SNOW THROWER; 322 SNOW THROWER; 520, 522 AND 524 SNOW BLOWERS; 524D AND 724D WALK-BEHIND SNOWBLOWERS; 526, 726, 732, 826, 832 and 1032 Walk-Behind Snow Blowers; 826D WALK-BEHIND SNOWBLOWER; 828D and 1032D Walk ...
0 Response to "42 john deere 42 snowblower parts diagram"
Post a Comment