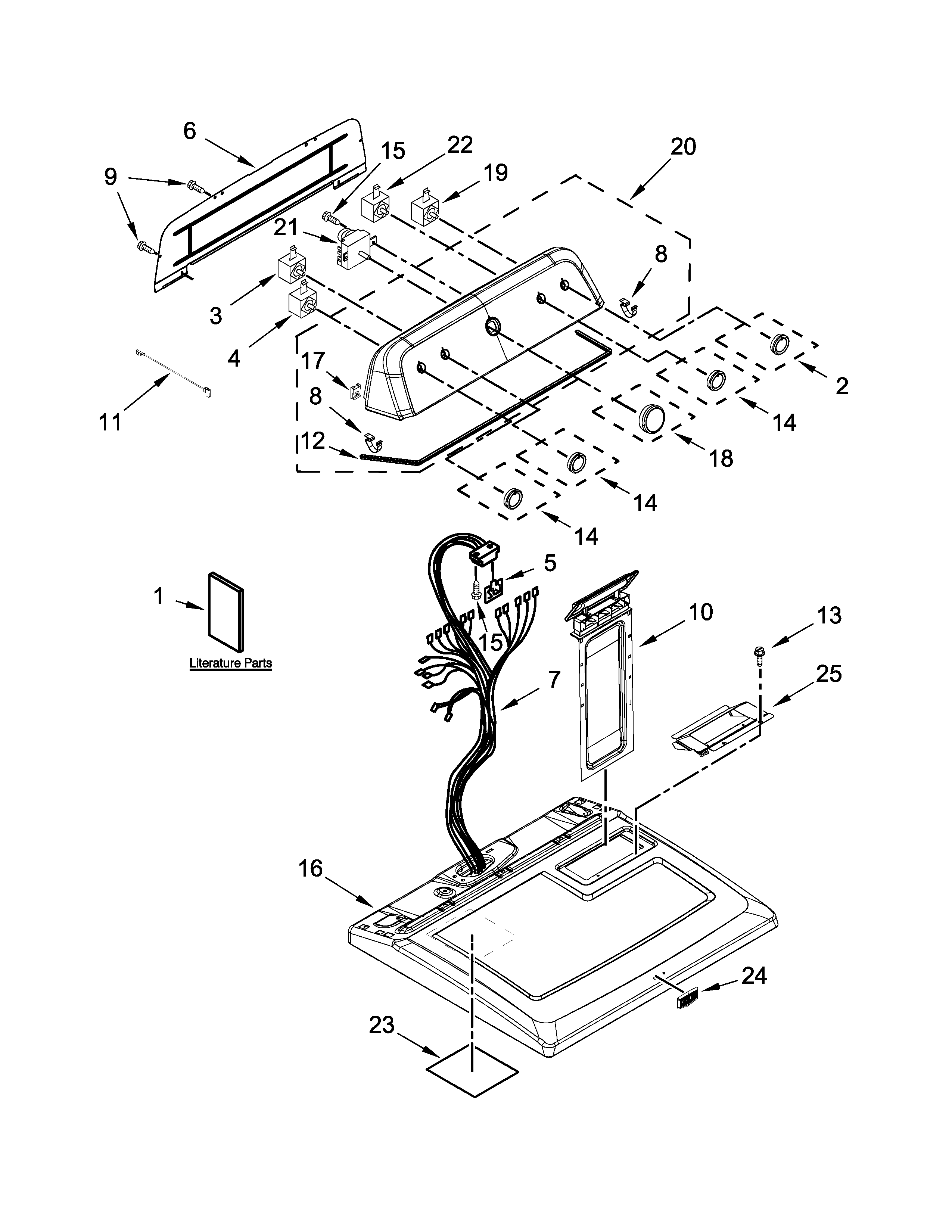
42 maytag dryer parts diagram
(Using parts diagram helps a lot as www. partsselect.com has for you or Maytag.com.) Then put the electronic part board back on and the gear and nut. Make sure it is tight by several attempts to make sure it's snugged up good and then slowly roll belt back on the pulley and motor drive. Buy Maytag dryer parts to repair your Maytag dryer at Easy Appliance Parts. Great prices on all Maytag parts you need to help you repair your dryer quickly ...
One million parts for appliances ship the same day. Call 844-200-5438 from 7 am to midnight.

Maytag dryer parts diagram
So, my dryer has been making noises for awhile, but I've ignored it because I knew it was a bad bearing. Well, turns out that my bearing has been slowly stripping itself away in long stringy sheets of metal. Those sheets coming off the bearing touched the exposed metal connector on my thermal fuse causing it to ground out and the spark severed the thermal fuse connector. The wire then fell to the bottom and was grounding itself on the case. I wasn't aware this was going on, it continued to w... The tumbler and motor belt in your dryer allows the drum to spin during the drying cycle. At 100 inches in length, this dryer drum belt is 3/8 of an inch wide and has five ridges. The belt is black in color and it is made entirely of rubber. If your dryer will not tumble, is noisy during operation, or will not start you may need to replace the ... At RepairClinic, we help people save time and money when appliances break. We stock genuine GE dryer parts for gas and electric dryers. Some of our top selling GE dryer parts include slides, glides, pads, and drum rollers. By entering your GE dryer's model number in the search box, you'll discover the exact replacement parts you need.
Maytag dryer parts diagram. You can use this washing machine parts diagram to get an idea of where basic parts are located inside a washing machine. Exact locations may vary from top to front load machines, as well as model to model. If you’re having an issue with a particular washer part, read the Maytag guide to washer troubleshooting or consult your owner’s manual. Products 1 - 20 of 215 — Buy Maytag Dryer Parts at Reliable Parts today! Factory authorized appliance parts distributor. The best way to find parts for Maytag dryer model MEDB835DW4 is by clicking one of the diagrams below. You can also browse the most common parts for Maytag dryer model MEDB835DW4. maytag dryer MED5830TW0 electric only My dryer is not heating. The drum spins and tried on all of the various settings to see if it's the main switch (auto, timed, etc.). I pulled out all of the internals and checked continuity on all of the elements, switches, and the heater. The wiring diagram is in the pictures here at this link with some others ([Pics](http://imgur.com/gallery/YLQC2zS). I don't have a continuity check on my DMM so I just measured resistance. For all parts I measured in the...
**Verified?** *(This bot cannot verify AMAs just yet)* **Date:** 2014-06-17 **[Link to submission](http://www.reddit.com/r/IAmA/comments/28by3p/)** (*Has self-text*) Questions|Answers :--|:-- [Thanks for doing an IAmA! I'll leave these questions here and hopefully you can answer them tomorrow.](http://www.reddit.com/r/IAmA/comments/28by3p/iama_appliance_repairman_ask_me_anything/ci9oqm7?context=5)|I have access to service manuals from all manufacturers. I do work with all of them and in ret... 1703, "union of parts, parts of a thing taken together," from French ensemblée "all the parts of a thing considered together," from Late Latin insimul "at the same time," from in- intensive prefix + simul "at the same time," related to similis "like, resembling, of the same kind" (see similar). Musical sense of "union of all parts in a performance" in English first attested 1844. Of women's dress and accessories, from 1927. Earlier in English as an adverb (mid-15c.), "together, at the same time." The available parts diagrams will help you determine the correct items to successfully complete your appliance repair, even if you don't know the name of ... 1940, American English, of automobile parts, from after + market.
I have a Maytag MDG308DAWW that isn't heating up. I used a multi-meter to test all the components and I've had the dryer apart twice now. The first time everything tested correctly, so I just put the dryer back together and it worked, once. I took it apart again and found that the solenoids resistance wasn't within range, so I went to sears and bought two new solenoids. I then installed them and put it back together. I ran the dryer and after 10 min it stopped making heat. I took it apart ... late 15c. (early 14c. as a surname, Dryere; Alic le Dreyster is attested from 1292) "one who dries and bleaches cloth," agent noun from dry (v.). As "that which dries or is used in drying," 1520s. Dryer was used of machines from 1848 (drying-machine is by 1819). Start Right Here Find appliance parts, lawn & garden equipment parts, heating & cooling parts and more from the top brands in the industry here. Click on Shop Parts, or select the kind of product you're working with on the left and we'll help you find the right part. SHOP PARTS "personal qualities, gifts of ability, share of mental endowments or acquirements," 1560s, from part (n.).
Manual de instrucciones Apple iPad A1219;. Learn to Use your iPad in a 30 Minute Video Guide for Beginners. Aqu os dejo en enlace a la web de Apple para bajaros el Manual de Usuario del iPad: . O iPad no vem com manual de fbrica, portanto aproveite a vantagem de nosso completo manual em portugus com muitas imagens, dicas e segredos do iPad que voc. Ebook PDF manual de usuario para ipad Download or Read Online manual de usuario para ipad Ebook PDF file for free from our online article MANUAL DE U...
Model of my dryer : maytag mdet236azw, from Canada while replacing my drum roll, the top fell and disconnected a wire. i'm not exactly sure where its original position was and i'm worried about blowing up the unit by disconnecting it in the wrong place. i have provided a photo here : https://i.imgur.com/OUdhv2C.png Between all 4 options, number 3 seems most probable because the socket doesn't look "rusted" compared to number 1, 2 and 4. Based on the angle the way the wire bends, number 3 seems...
Page 24: Dryer Disassembly Instructions FOR SERVICE TECHNICIAN’S USE ONLY DRYER DISASSEMBLY INSTRUCTIONS Remove Console, Front Panel, Front Bulkhead, and Drum Remove Top Panel NOTE: Sections A, B, C, and D must be 1. Unplug dryer or disconnect power. performed in order. 2.
I've been doing this for over 25 years for the big meatball. Any advice starting out? How can I get tech support without being authorized? Its been years since I have worked on all brands. So I'm a bit Rusty on anything but GE. I opened an Account with Marcone. I hate that Amazon sells parts so cheap. There really should be something done about that. But whatever..... I am hoping to stay with working on out of warranty jobs. If I can't stay busy enough. I have considered Extended ...
Maytag MVWX655DW1 washer parts - manufacturer-approved parts for a proper fit every time! We also have installation guides, diagrams and manuals to help you along the way!
Shop for Maytag Dryer DG9800 repair parts today! Find parts by name, location or by symptoms like noisy & no heat or not enough heat.
flash editor,treadmill service manual,robert bentley service manual,rm jobs,service manual toshiba,firmware,flash 8 macromedia,jaf unlocking,panasonic service manuals,repair service manual,nokia jobs,modell,2gb flash,lands for sale,modelle,asus service manual,compaq armada m700 manual,files,toshiba user manual,laptop service manuals,frigidaire dishwasher service manual,laptop manual,lotion,repair manuals,technics 1200 service manual,16gb flash,panasonic service manual,tv repair,manuals,service m...
Appliance: Maytag Washer-Horizontal Axis MAH5500BWW My Repair & Advice I just wanted to put my experience here for all to see. I have a Maytag Neptune, MAH5500BWW, one of the original ones. I bought it back in 2002 and it has done many many loads of wash faithfully.
agent noun from dry (v.); see drier.
Here are the diagrams and repair parts for Maytag MGDB950YW0 gas dryer, as well as links to manuals and error code tables, if available. Continue reading.
"pertaining to schemes," 1701, from Latin stem of scheme (n.) + -ic. Noun meaning "diagram" is first attested 1929. Related: Schematical (1670s).
Below is our selection of Maytag Dryer model numbers. Select a model from the list to see an overview of its replacement parts. You can quickly narrow your ...
1918 (Venn's diagram is from 1904), named for English logician John Venn (1834-1923) of Cambridge, who explained them in the book "Symbolic Logic" (1881).
1580s, "to make a map or diagram of, lay down on paper according to scale;" also "to lay plans for, conspire to effect or bring about" (usually with evil intent), from plot (n.). Intransitive sense of "to form a plan or device" is from c. 1600. Related: Plotted; plotter; plotting.
1610s, "an illustrative figure giving only the outlines or general scheme of the object;" 1640s in geometry, "a drawing for the purpose of demonstrating the properties of a figure;" from French diagramme, from Latin diagramma "a scale, a musical scale," from Greek diagramma "geometric figure, that which is marked out by lines," from diagraphein "mark out by lines, delineate," from dia "across, through" (see dia-) + graphein "write, mark, draw" (see -graphy). Related: Diagrammatic; diagrammatically. The verb, "to draw or put in the form of a diagram," is by 1822, from the noun. Related: Diagrammed; diagramming.
"in two parts, having two corresponding parts," 1570s, from Latin bipartitus "divided," past participle of bipartire "to divide into two parts," from bi- "two" (see bi-) + partitus, past participle of partiri "to divide" (from pars "a part, piece, a share," from PIE root *pere- (2) "to grant, allot"). Related: Bipartition.
This is an authentic OEM part for use with Whirlpool Dryers. The Thermal fuse shuts off the heating element when the dryer overheats. The two most common reasons for replacing the thermal fuse are when the dryer doesn't heat or won’t start.
At RepairClinic, we help people save time and money when appliances break. We stock genuine GE dryer parts for gas and electric dryers. Some of our top selling GE dryer parts include slides, glides, pads, and drum rollers. By entering your GE dryer's model number in the search box, you'll discover the exact replacement parts you need.
The tumbler and motor belt in your dryer allows the drum to spin during the drying cycle. At 100 inches in length, this dryer drum belt is 3/8 of an inch wide and has five ridges. The belt is black in color and it is made entirely of rubber. If your dryer will not tumble, is noisy during operation, or will not start you may need to replace the ...
So, my dryer has been making noises for awhile, but I've ignored it because I knew it was a bad bearing. Well, turns out that my bearing has been slowly stripping itself away in long stringy sheets of metal. Those sheets coming off the bearing touched the exposed metal connector on my thermal fuse causing it to ground out and the spark severed the thermal fuse connector. The wire then fell to the bottom and was grounding itself on the case. I wasn't aware this was going on, it continued to w...
0 Response to "42 maytag dryer parts diagram"
Post a Comment