Iklan 300x250

42 John Deere 111 Wiring Diagram

PDF John Deere 111 Wiring Diagram - myprofile.capecodtimes.com John Deere 111 Wiring Diagram - wiring diagram is a simplified normal pictorial representation of an electrical circuit. It shows the components of the circuit as simplified shapes, and the skill and signal connections with the devices. John Deere 111 Wiring Diagram | autocardesign Laki-laki Ini Berupaya Setubuhi Tetangga ... - mary-beauty.de Vor 2 Tagen · John Deere #45 loader: JDJohnDeere: John Deere "H" Wheel Weights: LittleD: John Deere "L" Implements: CPeter: John Deere 1010 Changes from 1960-1965: JD 1010 RU: John Deere 1010 hydralics: Joshjd49: John Deere 111 John deere hour meter reset Dec 14, 2021 · John Deere has responded to these laws by making it difficult to change many of those …

John Deere 111 wiring - Yesterday's Tractors I have a Deere 111 Pre serial number 200,000. The wiring harness was toasted when I got it. I need a diagram to figure out were the last four wires go. Not one of what the harness looks like but a full breakdown schematic. I hope someone can help as they do not even make the harness any more. The part number is AM37690.

John deere 111 wiring diagram

John deere 111 wiring diagram

Wiring Diagram For A 11 Hp Model 111 John Deere Lawn Mower ... john deere 111 parts diagram is one of the pics we discovered on the online from reputable resources. We decide to talk about this john deere 111 parts diagram picture in this post because according to data from Google search engine, It is one of the top queries keyword on google. Best john deere 111 lawn tractor wiring diagram - Reviews ... We have considered users feedback on the Best john deere 111 lawn tractor wiring diagram and Our suggestion includes only the finest of them in this articles. Best john deere 111 lawn tractor wiring diagram Top pick. 1 ML-U1-CCA 12V U1 200CCA Battery with NB Terminal ML-U1 is a 12V 200 Cold Cranking Amps (CCA) Sealed Lead Acid (SLA) Battery john deere 111 wiring diagram - Wiring Diagram Feb 04, 2021 · John Deere 170 My Tractor Forum. John deere 111 electrical schematics wiring green tractor talk pto does not ene 108 111Н 112l 116 o everyone lawn pc1699 hydrostatic diagram for a l wires hook up to the clutch 1981 vintage won t start l100 l108 l110 l111 l118 my forum 300 70 or picture electric problem garden diagrams help you understand forums 170 tech support tractordata com ignition switch ...

John deere 111 wiring diagram. John Deere 111 Wiring Diagram Download - Cadician's Blog March 3, 2019. April 12, 2020. · Wiring Diagram. by Anna R. Higginbotham. john deere wiring diagram download - You will want an extensive, expert, and easy to comprehend Wiring Diagram. With this kind of an illustrative guide, you are going to have the ability to troubleshoot, stop, and complete your projects without difficulty. John Deere 111 Wiring Diagram - autocardesign Oct 12, 2019 · John Deere 111 Wiring Diagram – wiring diagram is a simplified normal pictorial representation of an electrical circuit. It shows the components of the circuit as simplified shapes, and the skill and signal connections with the devices. A wiring diagram usually gives guidance about the relative direction and conformity of devices and ... John Deere Wiring Diagram Download - Wiring Diagram Wiring Diagram includes the two illustrations and step-by-step directions that will enable you to definitely truly develop your project. This is beneficial for each the people and for professionals that are looking to find out more on how to set up a operating atmosphere. Wiring Diagrams are created to be easy to comprehend and easy to create. Mitsubishi Fuso Fighter 6M60 Engine Fault Codes ... 09.11.2018 · Mitsubishi Fuso Fighter ECU External Wiring Diagram. Terminal layout. MITSUBISHI FUSO FIGHTER 6M60 Engine terminal layout . Terminal Symbol Explanation Terminals No. 1 to 34 . No. Terminal Name . Signal Name . No. Terminal Name . Signal Name: 1 – – 18: CASEGND: Case ground: 2 – – 19: KWP2000: MUT-3: 3 – – 20 – – 4 – – 21: AD1: …

John Deere 111 wiring - Green Tractor Talk May 26, 2015 · Discussion Starter · #1 · May 26, 2015. I have a Deere 111 Pre serial number 200,000. The wiring harness was toasted when I got it. I need a diagram to figure out were the last four wires go. Not one of what the harness looks like but a full breakdown schematic. I hope someone can help as they do not even make the harness any more. John Deere 111 Parts Diagram - Automotive Parts Diagram Images Description : Wiring Diagram For A 11 Hp Model 111 John Deere Lawn Mower regarding John Deere 111 Parts Diagram, image size 998 X 753 px, and to view image details please click the image. Truly, we also have been realized that john deere 111 parts diagram is being just about the most popular topic at this time. John Deere Parts Diagrams, John Deere L111 Lawn Tractor ... John Deere PARTS LOOKUP John Deere Parts Diagrams, John Deere L111 Lawn Tractor (With 42-IN Mower Deck) Material Collection System -PC9458 Air Filter & Fuel Pump ENGINE MARKED 406577-0139-E1: FUEL AND AIR PDF John Deere 111 Wiring Diagram - threadreaders.com John Deere 111 Wiring Diagram John Deere 111 Wiring Diagram - wiring diagram is a simplified normal pictorial representation of an electrical circuit. It shows the components of the circuit as simplified shapes, and the skill and signal connections with the devices. John Deere 111 Wiring Diagram | autocardesign

John Deere 111 Lawn Tractor Wiring Diagram - easywiring Apr 23, 2021 · A wiring diagram is a streamlined standard pictorial depiction of an electric circuit. I need to reconnect some wires ripped from there rightful place while the owner was mowing in t read more. 1 08 111 111 h lawn garden tractor this is a manual produced by jensales inc. John deere 225d lc excavators. John Deere 111 Pto Wiring Diagram - U Wiring manual description this technical manual is written for an. john deere 111 wiring green tractor talk electrical schematics hydrostatic lawn diagram for a l ignition jd111 needed 314 parts 35 108 111н 112l 116 112 electric lift need 240 or tech support forum 110 pto does not ene stx30 270 214 safety switch question led lights in jd my excavator lt … Craftsman router 315.17491 manual and parts catalog ... 31.01.2022 · The trigger is going out and I damaged the internetal wiring trying to fix it. I and looking for manuals and replacement parts. I think i am missing a spring and an electronic switch assembly from the shaft-lock system. Thanks in advance! Lee I need a wiring diagram for a craftsman router 315.175060 variable speed. The owner manual has a great ... Laki-laki Ini Berupaya Setubuhi Tetangga Usai Mengintip Mandi 15.02.2022 · "Yanmar built the compact tractors for John Deere for almost 30 years. io Group - Yanmar Tractor Owners Group Yanmar YM2610, 3T80, Power-Shift, ROPS - Fredricks UTDA Restored Dec 31, 2021 · Yanmar SA424 I have a small Yanmar that I dig with frequently. Get Shipping Quotes Apply for Financing. We would like to show you a description here but the site …

John Deere Tractors 8100, 8200, 8300, 8400 Diagnosis and ...

John Deere Tractors 8100, 8200, 8300, 8400 Diagnosis and ...

Sea Ray Boats Service & Owners Manuals PDF - Boat & Yacht ... Sea Ray - an American shipyard with a rich tradition and history, building boats, cruisers and yachts in four lines: Sport Boats, Sport Cruisers, Sport Yachts and Yachts began its chronology in 1959.. The American shipyard Sea Ray is a Ford in the construction of ships. It was not without reason that its founder lived in Detroit, the center of the American automotive industry.

TractorData.com John Deere 111 tractor information

TractorData.com John Deere 111 tractor information

John Deere 108 111 111Н 112L 116 Tractors Technical Manual This manual contains complete documentationon repair, maintenance manuals, wiring diagrams and pictures, special instructions and other service information for service lawn tractors John Deere following models: 108, 111, 111Н, 112L, 116. With this manual you will be able to increase the comfort and safety of your own tractor John Deere.

Wiring schematics | John Deere stx38 User Manual | Page 108 ...

Wiring schematics | John Deere stx38 User Manual | Page 108 ...

PDF John Deere 108 | 111 | 111H Parts Manual - Jensales john deere model: 1 08, 111 & 111 h lawn & garden tractor this is a manual produced by jensales inc. without the authorization of john deere or it's successors. john deere and it's successors are not responsible for the quality or accuracy of this manual. trade marks and trade names contained and used herein are those of others,

57-65 Ford Wiring Diagrams

57-65 Ford Wiring Diagrams

Paccar Electronic Service Analyst v5.4 with Flash Files 12 ... Shop John Deere Service Advisor 5.3.166 (replaces 5.2.544) 2022 Construction or AG Agricultural online on USB HDD with international delivery or easy digital download 499$ [12/2021] KIA Microcat V6 OEM Spare Parts Catalog 01/2022 (with Flash player Hotfix)

Wiring diagrams to help you understand how it is done ...

Wiring diagrams to help you understand how it is done ...

Wiring Diagram For A 11 Hp Model 111 John Deere Lawn Mower ... Wiring Diagram For A 11 Hp Model 111 John Deere Lawn Mower with regard to John Deere La105 Wiring Diagram by admin Through the thousand images on-line with regards to john deere la105 wiring diagram, we all selects the best collections along with best resolution only for you, and now this photographs is one among photos selections in this very best photographs gallery concerning John Deere ...

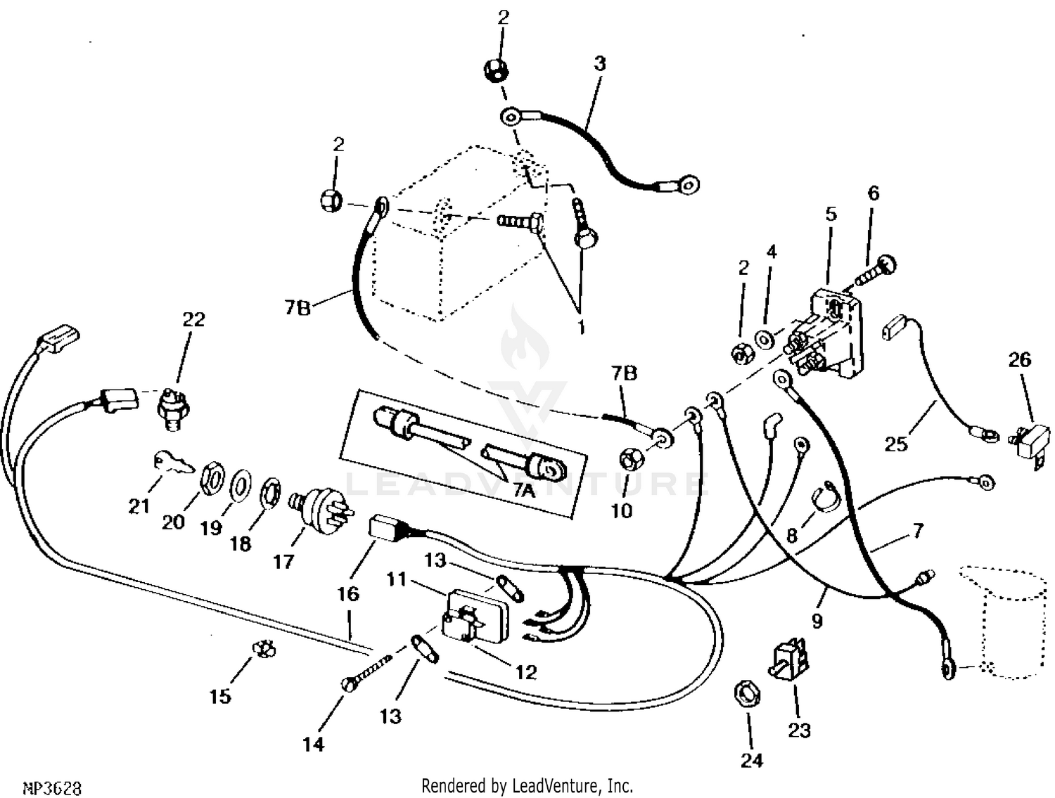
John Deere 108 & 111 Lawn Tractor -PC1699 MAIN WIRING HARNESS ...

John Deere 108 & 111 Lawn Tractor -PC1699 MAIN WIRING HARNESS ...

John Deere D140 Wiring Diagram - U Wiring Wiring Diagram John Deere L118 Lawn John Deere G110. Labels and Optional Equipment. John Deere D100 D110 D130 D140 models OEM technical manual in PDF format is written for an experienced technician and contains sections that help to repair assembledisassemble and diagnose the tractor and its engine.

How can I get a wiring diagram for a deere L 111? With out ...

How can I get a wiring diagram for a deere L 111? With out ...

TractorData.com John Deere 111 tractor information References: Operator's Manual 108, 111,112L ,116, and 116H (OMM88424-J4) published in 1984, by John Deere: Lawn Tractors and Mowers published in 1981, by John Deere

John Deere 111 repairs

John Deere 111 repairs

John Deere 111 Lawn Tractor Wiring Diagram - Bologny By Sis Write a Comment on John Deere 111 Lawn Tractor Wiring Diagram If you own a JD 111 with a non-electric PTO, the wiring diagram is very easy to read. The start switch wire goes to the '+ve' side of the solenoid on the engine block, and the '-ve' lead goes to a bolted on component on the mower frame or engine body.

John Deere 111 - PTO Does Not Engage | My Tractor Forum

John Deere 111 - PTO Does Not Engage | My Tractor Forum

Las Accident Vegas 215 [OG9601] Hi John, Often you can if the testing company is the same in both states (Pearson VUE, PSI Exams, etc. 2021-03-18 Roadnow. I-215: 1-1: 1-13: Feb 5, 2019 08:28 PM: E Washington Ave, N 21st St: 2-1: 4-14: Apr 28, 2019 09:42 PM: S Decatur Blvd, W Oakey Blvd: 2: 1: 1: 3-15: Las Vegas fatal car crash and road traffic accident list for 2008. Check out all the fantastic accessories …

John Deere OPERATORS MANUAL 111 SELF-PROPELLED PEANUT COMBINE ...

John Deere OPERATORS MANUAL 111 SELF-PROPELLED PEANUT COMBINE ...

agb.terapiaagnus.pl 13.02.2022 · Mercedes Engine Fault Codes List PDF. John Deere Service Manuals. the check 2011. Tohatsu offers the best outboard motors, including the 250 hp, 225 hp, 200 hp and 150 hp. With its increased engine capacity and a weight reduction of 15kg, the latest generation Yamaha F115 offers the F150LB Yamaha 4 Stroke 150hp Long Shaft EFI OUTBOARD FOR SALE …

John Deere 240, 250 Skid-Steer Loader Service Manual TM1747

John Deere 240, 250 Skid-Steer Loader Service Manual TM1747

John Deere 111 Wiring Diagram throughout John Deere 40 ... That picture ( John Deere 111 Wiring Diagram throughout John Deere 40 Wiring Diagram) preceding is actually branded having: posted through admin at January, 1 2015. To determine all photographs within John Deere 40 Wiring Diagram images gallery you should follow this url .

My John Deere 160 engine switch does not turn on when I hit ...

My John Deere 160 engine switch does not turn on when I hit ...

how can I get a wiring diagram for a john deere L 111? With… how can I get a wiring diagram for a john deere L 111? With… Related Small Engine Questions I need a belt diagram for a deere d155 mower deck. I need a I need a belt diagram for a John deere d155 mower deck. … read more EricN910 Technician 4,622 satisfied customers I need a replacement engine for a deere 111 riding lawn

John deere 170 | My Tractor Forum

John deere 170 | My Tractor Forum

dib.sprawdzranking.pl 13.02.2022 · Jul 21, 2018 · Craftsman ys4500 parts diagram 46 inch plus teseh engine carburetor parts diagram and then mtd 524 snowblower parts diagram in conjunction with yard machine riding mower parts diagram additionally exmark manuals parts and diagram as well john deere lawn mower parts diagram together with howse bush hog parts diagram also toro timecutter …

John Deere L105, L107, L120 Lawn Tractors Diagnostic and ...

John Deere L105, L107, L120 Lawn Tractors Diagnostic and ...

wiring diagram for a 11 hp model 111 john deere lawn mower need wiring diagram for model 111 john deere lawn tractor. Chris Dalton: Wiring on my JD 111 is a mess!need a wiring diagram to start over. Selvin Tzib: where can I buy a wiring diagram for a 11 hp model 111 john deere lawn mower: don meyer: i purchased a 11 hp 111 john deere garden tractor that someone started to make pulling tractor out of ...

John Deere 111 Electrical Schematics | My Tractor Forum

John Deere 111 Electrical Schematics | My Tractor Forum

meandmydog.pl 12.02.2022 · Sa 16 dtc p225e00

john deere used wire harness removed from 111 am39476 time on ...

john deere used wire harness removed from 111 am39476 time on ...

JOHN DEERE - Service Manual Download John Deere 108, 111, 111H, 112L, 116 Lawn Tractors Technical Manual (TM1206) John Deere 317 Hydrostatic Tractor Technical Manual (TM1208) John Deere 7000 Folding Max-Emerge Planter Technical Manual (TM1211) John Deere JD862 Scraper Technical Manual (TM1212) John Deere JD740-A Skidder & JD740-A Grapple Skidder Technical Manual (TM1213)

John Deere 111 Hydrostatic Lawn Tractor -PC1699 MAIN WIRING ...

John Deere 111 Hydrostatic Lawn Tractor -PC1699 MAIN WIRING ...

john deere 111 wiring diagram - Wiring Diagram Feb 04, 2021 · John Deere 170 My Tractor Forum. John deere 111 electrical schematics wiring green tractor talk pto does not ene 108 111Н 112l 116 o everyone lawn pc1699 hydrostatic diagram for a l wires hook up to the clutch 1981 vintage won t start l100 l108 l110 l111 l118 my forum 300 70 or picture electric problem garden diagrams help you understand forums 170 tech support tractordata com ignition switch ...

John Deere 744H Loader Electrical Wiring Diagrams Service Repair Manual  TM1603 | eBay

John Deere 744H Loader Electrical Wiring Diagrams Service Repair Manual TM1603 | eBay

Best john deere 111 lawn tractor wiring diagram - Reviews ... We have considered users feedback on the Best john deere 111 lawn tractor wiring diagram and Our suggestion includes only the finest of them in this articles. Best john deere 111 lawn tractor wiring diagram Top pick. 1 ML-U1-CCA 12V U1 200CCA Battery with NB Terminal ML-U1 is a 12V 200 Cold Cranking Amps (CCA) Sealed Lead Acid (SLA) Battery

My model 210 tractor will not start, Not even crank. I ...

My model 210 tractor will not start, Not even crank. I ...

Wiring Diagram For A 11 Hp Model 111 John Deere Lawn Mower ... john deere 111 parts diagram is one of the pics we discovered on the online from reputable resources. We decide to talk about this john deere 111 parts diagram picture in this post because according to data from Google search engine, It is one of the top queries keyword on google.

1981 vintage John Deere 111 won't start | LawnSite™ is the ...

1981 vintage John Deere 111 won't start | LawnSite™ is the ...

John Deere 4400 Combine Technical Manual | TractorJoe.com

John Deere 4400 Combine Technical Manual | TractorJoe.com

John Deere 111 | Tech Support Forum

John Deere 111 | Tech Support Forum

John Deere 826 Wiring Help | Snowblower Forum

John Deere 826 Wiring Help | Snowblower Forum

SOLVED: Wiring diagram Scott's 2554 - Fixya

SOLVED: Wiring diagram Scott's 2554 - Fixya

John Deere LT-133 | Green Tractor Talk

John Deere LT-133 | Green Tractor Talk

67 110 Wiring Diagram | Weekend Freedom Machines

67 110 Wiring Diagram | Weekend Freedom Machines

John Deere Parts Lookup -108 & 111 Lawn Tractor -PC1699

John Deere Parts Lookup -108 & 111 Lawn Tractor -PC1699

Wiring issues on the JD 111 (part 4)

Wiring issues on the JD 111 (part 4)

This weekends project. John Deere 111. Needs a new engine! I think I have  just what it needs.

This weekends project. John Deere 111. Needs a new engine! I think I have just what it needs.

John Deere 3100, 3200, 3300, 3400 Tractor Service Manual TM4525

John Deere 3100, 3200, 3300, 3400 Tractor Service Manual TM4525

John Deere Tractors 6020, 6020SE, 6120, 6120SE, 6220, 6220SE ...

John Deere Tractors 6020, 6020SE, 6120, 6120SE, 6220, 6220SE ...

john deere 111 drive belt diagram,New daily offers ...

john deere 111 drive belt diagram,New daily offers ...

Od Green (odgreen4x4) - Profile | Pinterest

Od Green (odgreen4x4) - Profile | Pinterest

John Deere 111 | Tech Support Forum

John Deere 111 | Tech Support Forum

HOW TO TEST & REPLACE A SOLENOID ON A LA125 JOHN DEERE MOWER

HOW TO TEST & REPLACE A SOLENOID ON A LA125 JOHN DEERE MOWER

How can I get a wiring diagram for a deere L 111? With out ...

How can I get a wiring diagram for a deere L 111? With out ...

John Deere 108 & 111 Lawn Tractor -PC1699 Fuel Tank & Fuel ...

John Deere 108 & 111 Lawn Tractor -PC1699 Fuel Tank & Fuel ...

Massey Ferguson

Massey Ferguson

john deere 111 drive belt diagram,New daily offers ...

john deere 111 drive belt diagram,New daily offers ...

john deere l111 belt diagram,New daily offers ...

john deere l111 belt diagram,New daily offers ...

John Deere 111 wiring | My Tractor Forum

John Deere 111 wiring | My Tractor Forum

wiring ? horn & blinkers | John Deere Gator Forums

wiring ? horn & blinkers | John Deere Gator Forums

0 Response to "42 John Deere 111 Wiring Diagram"

Post a Comment

Iklan Atas Artikel

Iklan Tengah Artikel 1

Iklan Tengah Artikel 2

Iklan Bawah Artikel